Domů Nábytek Koupelna Koupelnové doplňky SANELA - Nerezové dávkovače Dávkovač mýdla s elektronickým ovládáním, síťové napájení, nerez SLZN 83E

SANELA - Nerezové dávkovače Dávkovač mýdla s elektronickým ovládáním, síťové napájení, nerez SLZN 83E

Dostupnost do 2 týdnů
Výrobce SANELA
EAN 8591385858314
13 396 Kč
Do obchodu
Svet-koupelny.cz

Popis produktu

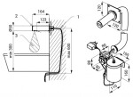
Automatický nerezový nástěnný dávkovač mýdla jednoduché doplňování mýdla nízká spotřeba mýdla reaguje na přítomnost rukou ve snímané zóně spuštěním jedné dávky mýdla čas dávkování mýdla možno nastavit v rozsahu 1,3-13 s (standardně 2,6 s) nádržka na mýdlo 1000 ml síťové napájení nastavení parametrů pomocí dálkového ovladače SLD 03 Technické údaje napájecí napětí: 230 V AC příkon: 3 W dosah: 0,11-0,15 m doporučená viskozita mýdla 10-5000 mPa (nepoužívat chemická rozpouštědla ani dezinfekce) Obsah dodávky nerezové ramínko s dávkovačem mýdla a elektronikou úchytová deska, přívodní hadička a kabely čerpadlo na mýdlo a nádržka na mýdlo 1000 ml ochranná trubka 800 mm SLZ 07 napájecí zdroj do zásuvky 230 V AC/ 24 V DC dálkové ovládání SLD 03 není součástí balení