Domů Stavebniny Železářství Kování a zámky Nábytkové kování Strong StrongBall S5 mikrovýsuv 438mm (92606)

Strong StrongBall S5 mikrovýsuv 438mm (92606)

Dostupnost skladem
Výrobce Strong
62 Kč
Do obchodu
Vseprotruhlare.cz

Popis produktu

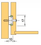
- výsuv používáný v průmyslově vyráběném nábytku typu IkeaMontážní postup- nejdříve do se do boků zásuvky vyfrézuje drážka a navrtá díra (naproti místu, kde je v pojezdu díra s metrickým závitem- potom přišroubujeme pojezdy na korpus- nasadíme zásuvku do pojezd- nakonec zajistíme zevnitř šroubem velikosti M4 zásuvku proti posouvání pojezdu- nosnost 10kg

Parametry

Nosnost 10kg
Tip-on Ne
Tlumený doraz Ne
Celovýsuv Ne